
News
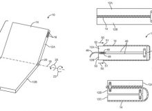
Lộ bằng sáng chế iPhone có màn hình gập của Apple
| October 21, 2025
Samsung đang gấp rút để chuẩn bị cho việc ra mắt chiếc smartphone có màn hình gập đầu tiên trên thế giới, vào cuối năm nay. Chiếc smartphone
Read More
