Samsung đăng ký bằng sáng chế smartphone “không khung”, màn cong tràn viền từ mặt trước ra mặt sau
Samsung Galaxy S10 được kỳ vọng là sẽ có thiết kế không viền thực thụ khi nhà sản xuất này Hàn Quốc này sẽ giảm thiểu tối đa hai viền trên dưới của máy. Tuy nhiên, với mục tiêu bứt phá mọi giới hạn trong tương lai, gã khổng lồ công nghệ xứ kim chi đã đăng ký bằng sáng chế cho thiết kế mặt trước tận dụng gần như toàn bộ diện tích cho màn hình, chỉ để lại vài lỗ hổng cho phím cứng.

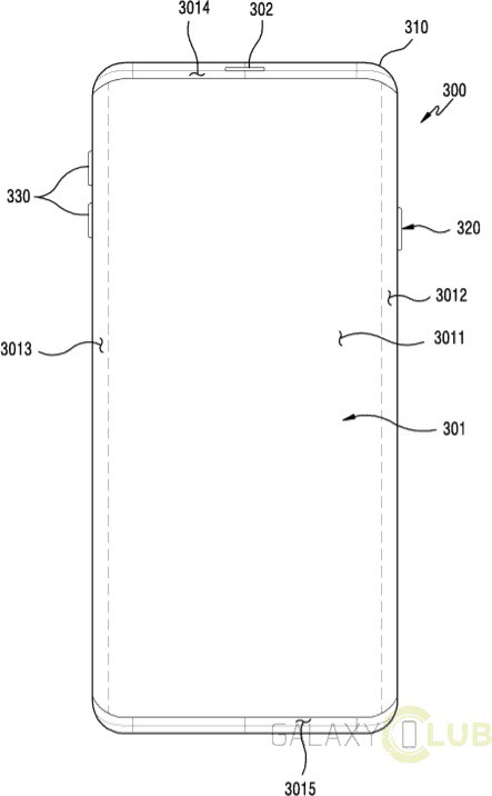
Với hy vọng sẽ loại bỏ được cả phần khung kim loại – điều mà công nghệ hiện tại chưa cho phép, Samsung đang mường tượng đến một thiết bị có màn hình cong tràn gần như hoàn toàn, chỉ để lại một chút rất nhỏ cái khung mà thôi. Thế nhưng , điều này đồng nghĩa với việc cũng không có cả chỗ cho phím cứng luôn, và đây chính là lý do mà Samsung đã đăng ký bản quyền cho phát minh của mình.

Thay vì việc tích hợp các nút ảo trên màn hình – mà theo người viết là một giải pháp hợp lý hơn, công ty trụ sở Seoul này sẽ “đục lỗ” trên tấm nền. Nhờ cách làm này mà họ có thể giữ lại những nút vật lý trước đây nằm ở trên khung như nút tăng giảm âm lượng, phím nguồn và nút Bixby. Ngoài ra, nó cũng Samsung đạt được thiết kế bo cong tràn viền từ mặt trước ra đến mặt sau.

Như thường lệ, chưa chắc Samsung sẽ sử dụng bằng sáng chế này cho các smartphone tương lai. Mặc dù vậy, nếu họ có cân nhắc điều này, thì chứng tỏ rằng Samsung đánh giá rất cao trải nghiệm mà một phím cứng mang lại, và có rất nhiều người đồng tình với quan điểm của họ.
Theo PhoneArena
