Bằng sáng chế của Samsung mô tả cảm biến vân tay dưới màn hình, sử dụng cho Galaxy S10?
Galaxy S9 có thể chỉ là bản cập nhật tối thiểu của Galaxy S8 năm ngoái, ít nhất là khi nói về ngoại hình. Vì vậy, Samsung đang kì vọng hoàn thiện mọi thứ với Galaxy S10 để cải thiện doanh thu và kỷ niệm 10 năm dòng sản phẩm này có mặt trên thị trường.

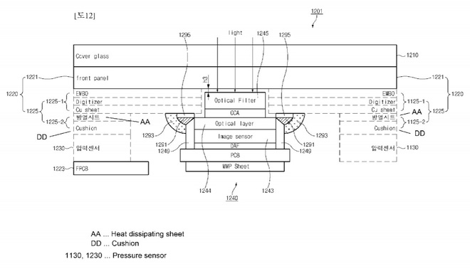
Một trong những tính năng được đồn đại nhiều nhất sẽ xuất hiện trên Galaxy S10 cho đến thời điểm hiện tại là cảm biến vân tay quang học – công nghệ đã được sử dụng trên Huawei Mate 20 Pro và sắp tới là OnePlus 6T. Mới đây, một bằng sáng chế được tiết lộ từ Hàn Quốc đã mô tả chi tiết cách công nghệ này được triển khai cho một chiếc flagship của Samsung.

Như chúng ta đã thấy trên Huawei Mate 20 Pro, cảm biến của Samsung cũng chỉ giới hạn ở một khu vực nhỏ của màn hình trùng với vị trí nơi ngón tay cái của người dùng thường chạm vào. Nó trông giống như nút Home ảo hóa của Samsung, màn hình của thiết bị cũng có tính năng cảm ứng lực và có lẽ nó sẽ có phản hồi thông báo cho người dùng ngay khi mở khóa hoặc khi vân tay bị phát hiện không khớp.

Bằng sáng chế này mô tả công nghệ bên trong một chiếc smartphone có thiết kế quen thuộc như Galaxy S8 của Samsung. Tuy nhiên, vì nó được nộp vào đầu năm nay – bản gốc đã có từ tháng 4 năm 2017 – nên nhiều khả năng đây không phải là thiết kế cuối cùng của Galaxy S10.
Với những chiếc smartphone giới thiệu vào tháng 2, Samsung thường hoàn thiện thiết kế trong khoảng thời gian khoảng tháng 11 đến 12. Vì vậy, thời điểm này sẽ có nhiều hơn các rò rỉ về thiết kế chính thức của sản phẩm.
Tham khảo: PhoneArena
