Apple Pencil có thể được tích hợp công nghệ siêu âm trong tương lai
Trong vài ngày trở lại đây, Apple liên tục để lộ những bằng sáng chế công nghệ mới cho các thiết bị trong tương lai của mình. Đầu tiên là một phát minh giúp cải thiện trải nghiệm của việc đeo tai nghe. Mới đây nhất, 2 bằng sáng chế của gã khổng lồ công nghệ Mỹ cho thấy công ty có ý định đem công nghệ cảm biến siêu âm lên các thiết bị trong tương lai.

Mục đích trước tiên của Apple khi sử dụng công nghệ cảm biến siêu âm có lẽ là để tăng độ nhạy của màn hình các thiết bị cảm ứng, trong đó có iPhone, iPad. Loại màn hình này sử dụng đầu dò để truyền sóng siêu âm dọc theo bề mặt, sau đó tín hiệu sẽ được kiểm tra bởi một số cảm biến để xác định vị trí và kích thước của các đối tượng tác động.

Bên cạnh đó, các cảm biến này cũng có thể tính toán áp suất đang được áp dụng. Về cơ bản, cảm biến siêu âm có thể được sử dụng như một giải pháp để 3D Touch hiện nay.

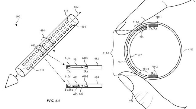
Ngoài iPhone, iPad, công nghệ siêu âm có thể được Apple áp dụng cho cả Apple Pencil để tăng độ chính xác. Bằng cách phủ lên bút stylus nhiều cảm biến, nó có thể phát hiện ra cách người dùng đang cầm như thế nào. Với công nghệ này, việc người dùng thay đổi lực cầm bút có thể dẫn đến việc thay đổi loại đầu bút hoặc độ dày của các nét (khi vẽ hoặc viết bằng Apple Pencil).
Công nghệ siêu âm chắc chắn có thể cải thiện độ chính xác của Apple Pencil nhưng đây mới chỉ là bằng sáng chế và việc khi nào Apple áp dụng nó vẫn chưa thể khẳng định.
Tham khảo: PhoneArena
