Apple muốn làm một chiếc iPhone không thể bị phá hủy?
Tin vui cho bạn là Apple có thể sẽ giải quyết rốt ráo mọi vấn đề này trong một tương lai không xa nữa, bởi hãng hiện đang nghiên cứu nhiều phương thức nhằm tạo nên lớp vỏ kim loại chống trầy trên những thiết bị của mình.
Bạn đang nghe đúng đấy, đó chính là tên gọi của một bằng sáng chế mới của Apple mà Văn phòng Bằng sáng chế Mỹ (USPTO) vừa công bố hồi đầu tuần này.

Có vẻ như Apple muốn làm những chiếc iPhone (và các sản phẩm khác) trở nên không thể phá hủy được. Trong suốt sự kiện iPhone vừa qua của mình, công ty đã nhấn mạnh về chỉ số IP68 của dòng iPhone XS, rằng các thiết bị mới được giới thiệu sẽ kháng nước và các chất lỏng khác tốt hơn nhiều. Họ còn cho nói về mặt kính mới trên iPhone XS trong thông cáo báo chí như sau:
“Thiết kế mặt kính trước và sau sử dụng một loại kính bền nhất từng có trên một chiếc smartphone với khả năng chống trầy được tăng cường, trong khi mặt kính sau cho phép sạc không dây. iPhone XS và iPhone XS Max đã đạt một tầm cao mới trong kháng nước và chất lỏng, với IP68, đến tối đa 2 mét trong vòng 30 phút, và bảo vệ thiết bị chống lại mọi tình huống đổ cafe, trà và soda diễn ra thường ngày“.
Nhưng Apple còn muốn chống những vết trầy vốn là “nỗi đau không nói nên lời” của những người dùng iPhone, iPad, MacBook và Apple Watch:
“Các thiết bị điện toán xách tay, như điện thoại di động, máy tính tablet, và máy tính laptop, tiếp xúc với nhiều bề mặt cứng và các vật liệu gây trầy xước trong quá trình sử dụng thông thường. Hơn nữa, các thiết bị điện toán này có thể bị rơi, dẫn đến trầy xước bởi va chạm với các vật liệu cứng khác. Nếu lớp vỏ của các thiết bị điện toán không được bảo vệ đầy đủ, lớp vỏ này có thể bị trầy xước, gỉ sét, và các hình thức xuống cấp khác làm giảm sự lôi cuốn vẻ bề ngoài của chúng. Nếu lớp vỏ này được bao gôm các phần kim loại được anod hóa, thì những vết trầy xước, gỉ sét, và những hao mòn có thể phá vỡ lớp bảo vệ anod và cho phép các tạp chất ăn mòn lớp kim loại bên dưới. Những gì chúng tôi cần là cải thiện lớp phủ trên bề mặt kim loại“.
Chữ rõ khi nào những công nghệ kia sẽ được đưa vào sử dụng, hay liệu chúng đã có mặt trên các thiết bị mới của Apple hay chưa. Tài liệu này được trình lên USPTO vào tháng 3/2017. Nhưng từ bằng sáng chế của Apple, có thể thấy một điều hiển nhiên là Apple đang lắng nghe góp ý từ các khách hàng. Hãy xem hình ảnh dưới đây:

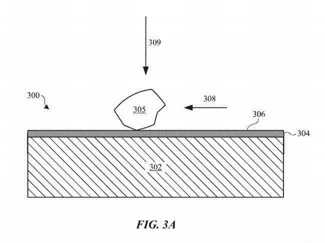
Và đây là đoạn văn bản đi kèm với nó:
“Lớp phủ Oxide 204 thường cứng hơn lớp vật liệu bên dưới 202. Ví dụ, một lớp phủ oxide 204 Loại II có thể có độ cứng Vickers từ 300 đến 500 HV.sub.0.05. Do đó, lớp phủ oxide 204 có thể mang lại khả năng kháng các va chạm đáng kể có khả năng làm biến dạng lớp vật liệu lõi nhôm mềm hơn bên dưới 202. Tuy nhiên, lớp phủ oxide 204 vẫn có thể bị trầy xước. Ví dụ, phần từ cứng 205, có thể là kim loại, cát, đá, xi măng, sạn, kinh, hay các vật liệu khác mà phần 200 sẽ tiếp xúc và trượt trên bề mặt ngoài 206 (hướng chuyển động minh họa là mũi tên 208) và mài mòn một ít lớp phủ oxide 204. Ngay cả khi chỉ tác động một áp lực nhẹ 209, bề mặt ngoài 206 có thể hình thành nên các vết trầy thấy rõ 210, khiến giảm sự lôi cuốn vẻ ngoài của phần 200. Hơn nữa, nếu lớp phủ oxide 204 được sơn màu tối (như màu đen chẳng hạn) và bề mặt ngoài 206 được mài đến độ bóng cao, nó sẽ không có đủ chiều sâu quang học để giấu những vết trầy 210, vì thế khiến vết trầy 210 càng dễ nhận ra hơn. Đúng vậy, một bề mặt ngoài có độ bóng cáo 206 trên một lớp phủ oxide bóng màu tối 204 có thể làm lộ ngay cả một vết trầy bề mặt 210 vô cùng nhỏ hay các chi tiết lỗi khác, vốn có màu trắng hoặc bạc“.
Nếu bạn nghĩ đến chiếc iPhone 7 màu Jet Black khi đọc đoạn trên, bạn không phải là người duy nhất đâu. Trong tương lai, điều đó sẽ không xảy ra nữa.

Ngoài ra, bằng sáng chế còn miêu tả một lớp phủ mạnh đến nỗi ngăn được sự biến dạng của kim loại. Đó là bởi ngoại lực có thể đủ mạnh để khiến kim loại bị lõm, đặc biệt nếu nó là nhôm, và qua đó khiến thiết bị có thể bị hỏng.
Bằng sáng chế giải thích rằng lớp phủ kháng trầy có thể được áp dụng trên trên lớp sơn màu, ám chỉ việc Apple có thể mang nhiều lựa chọn màu sắc hơn lên các sản phẩm của mình mà không lo về việc bị phai nữa.

Ở thời điểm hiện tại, tất nhiên bạn vẫn nên dùng ốp lưng và miếng dán bảo vệ màn hình với chiếc iPhone mới của mình. Cẩn thận vẫn hơn các bạn ạ!
Tham khảo: BGR
